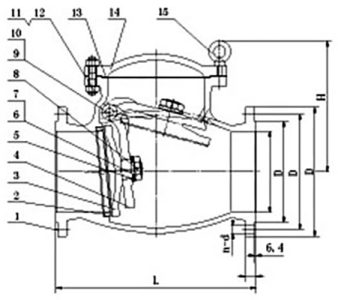
| No. | Part Name | Material |
|---|---|---|
| 1 | Body | ASTM A216 WCB |
| 2 | Seat ring | ASTM A105+ERCoCr-A |
| 3 | Disc | ASTM A216 WCB+13Cr |
| 4 | Hinge | ASTM A216 WCB |
| 5 | Washer | Carbon steel |
| 6 | Nut | Carbon steel |
| 7 | Stud | Carbon steel |
| 8 | Split pin | 304 |
| 9 | Hinge pin | 13Cr |
| 10 | Plug | Carbon steel |
| 11 | Stud | ASTM A193 B7 |
| 12 | Nut | ASTM A194 2H |
| 13 | Bonnet gasket | 13Cr+Graphite |
| 14 | Bonnet | ASTM A216 WCB |
| 15 | Eye screw | Carbon steel |
| DN | d | L | D | D1 | D2 | b | n-d | H | W.T (kg) |
|---|---|---|---|---|---|---|---|---|---|
| 2" | 51 | 203.2 | 152 | 120.7 | 92 | 15.8 | 4-19 | 135 | 19 |
| 2-1/2" | 64 | 215.9 | 178 | 139.7 | 105 | 17.5 | 4-19 | 147 | 26 |
| 3" | 78 | 241.3 | 190 | 152.4 | 127 | 19 | 4-19 | 178 | 31 |
| 4" | 102 | 292.1 | 229 | 190.5 | 157 | 23.9 | 8-19 | 222 | 31 |
| 5" | 127 | 330.2 | 254 | 215.9 | 186 | 23.9 | 8-22 | 253 | 67 |
| 6" | 152 | 355.6 | 279 | 241.3 | 216 | 25.4 | 8-22 | 314 | 85 |
| 8" | 203 | 495.3 | 343 | 298.5 | 270 | 28.5 | 8-22 | 350 | 148 |
| 10" | 254 | 622.3 | 406 | 362 | 324 | 30.2 | 12-25 | 406 | 218 |
| 12" | 305 | 698.5 | 483 | 431.8 | 381 | 31.8 | 12-25 | 445 | 345 |
| No. | Part Name | Material |
|---|---|---|
| 1 | Body | ASTM A216 WCB |
| 2 | Seat ring | ASTM A105+ERCoCr-A |
| 3 | Disc | ASTM A216 WCB+13Cr |
| 4 | Hinge | ASTM A216 WCB |
| 5 | Washer | Carbon steel |
| 6 | Nut | Carbon steel |
| 7 | Stud | Carbon steel |
| 8 | Split pin | 304 |
| 9 | Hinge pin | 13Cr |
| 10 | Plug | Carbon steel |
| 11 | Stud | ASTM A193 B7 |
| 12 | Nut | ASTM A194 2H |
| 13 | Bonnet gasket | 13Cr+Graphite |
| 14 | Bonnet | ASTM A216 WCB |
| 15 | Eye screw | Carbon steel |
| DN | d | L | D | D1 | D2 | b | n-d | H | W.T (kg) |
|---|---|---|---|---|---|---|---|---|---|
| 2" | 51 | 266.7 | 165 | 127 | 92 | 22.2 | 8-19 | 160 | 25 |
| 2-1/2" | 64 | 292.1 | 190 | 149.2 | 105 | 25.4 | 8-22 | 172 | 34 |
| 3" | 78 | 317.5 | 210 | 168.3 | 127 | 28.6 | 8-22 | 189 | 44 |
| 4" | 102 | 355.6 | 254 | 200 | 157 | 31.8 | 8-22 | 210 | 68 |
| 5" | 127 | 400.1 | 279 | 235 | 186 | 34.9 | 8-22 | 270 | 88 |
| 6" | 152 | 444.5 | 318 | 269.9 | 216 | 36.5 | 12-22 | 330 | 126 |
| 8" | 203 | 533.4 | 381 | 330.2 | 270 | 41.3 | 12-25 | 418 | 197 |
| 10" | 254 | 622.3 | 445 | 387.3 | 324 | 47.6 | 16-29 | 450 | 322 |
| 12" | 305 | 711.2 | 521 | 450.8 | 381 | 50.8 | 16-32 | 508 | 410 |
| No. | Part Name | Material |
|---|---|---|
| 1 | Body | ASTM A216 WCB |
| 2 | Seat ring | ASTM A105+ERCoCr-A |
| 3 | Disc | ASTM A216 WCB+13Cr |
| 4 | Hinge | ASTM A216 WCB |
| 5 | Washer | Carbon steel |
| 6 | Nut | Carbon steel |
| 7 | Stud | Carbon steel |
| 8 | Split pin | 304 |
| 9 | Hinge pin | 13Cr |
| 10 | Plug | Carbon steel |
| 11 | Stud | ASTM A193 B7 |
| 12 | Nut | ASTM A194 2H |
| 13 | Bonnet gasket | 13Cr+Graphite |
| 14 | Bonnet | ASTM A216 WCB |
| 15 | Eye screw | Carbon steel |
| DN | d | L | D | D1 | D2 | b | n-d | H | W.T (kg) |
|---|---|---|---|---|---|---|---|---|---|
| 2" | 51 | 292 | 165 | 127 | 92 | 26 | 8-19 | 200 | 47 |
| 2-1/2" | 64 | 330 | 190 | 149 | 105 | 29 | 8-22 | 236 | 62 |
| 3" | 76 | 356 | 210 | 168 | 127 | 32 | 8-22 | 269 | 83 |
| 4" | 102 | 432 | 273 | 216 | 157 | 38 | 8-25 | 310 | 140 |
| 5" | 127 | 508 | 330 | 266.5 | 186 | 45 | 8-29 | 365 | 220 |
| 6" | 152 | 559 | 356 | 292 | 216 | 48 | 12-29 | 407 | 337 |
| 8" | 200 | 660 | 419 | 349 | 270 | 56 | 12-32 | 472 | 535 |
| 10" | 248 | 787 | 508 | 432 | 324 | 64 | 16-35 | 546 | 610 |
| 12" | 298 | 838 | 559 | 489 | 381 | 67 | 20-35 | 584 | 796 |